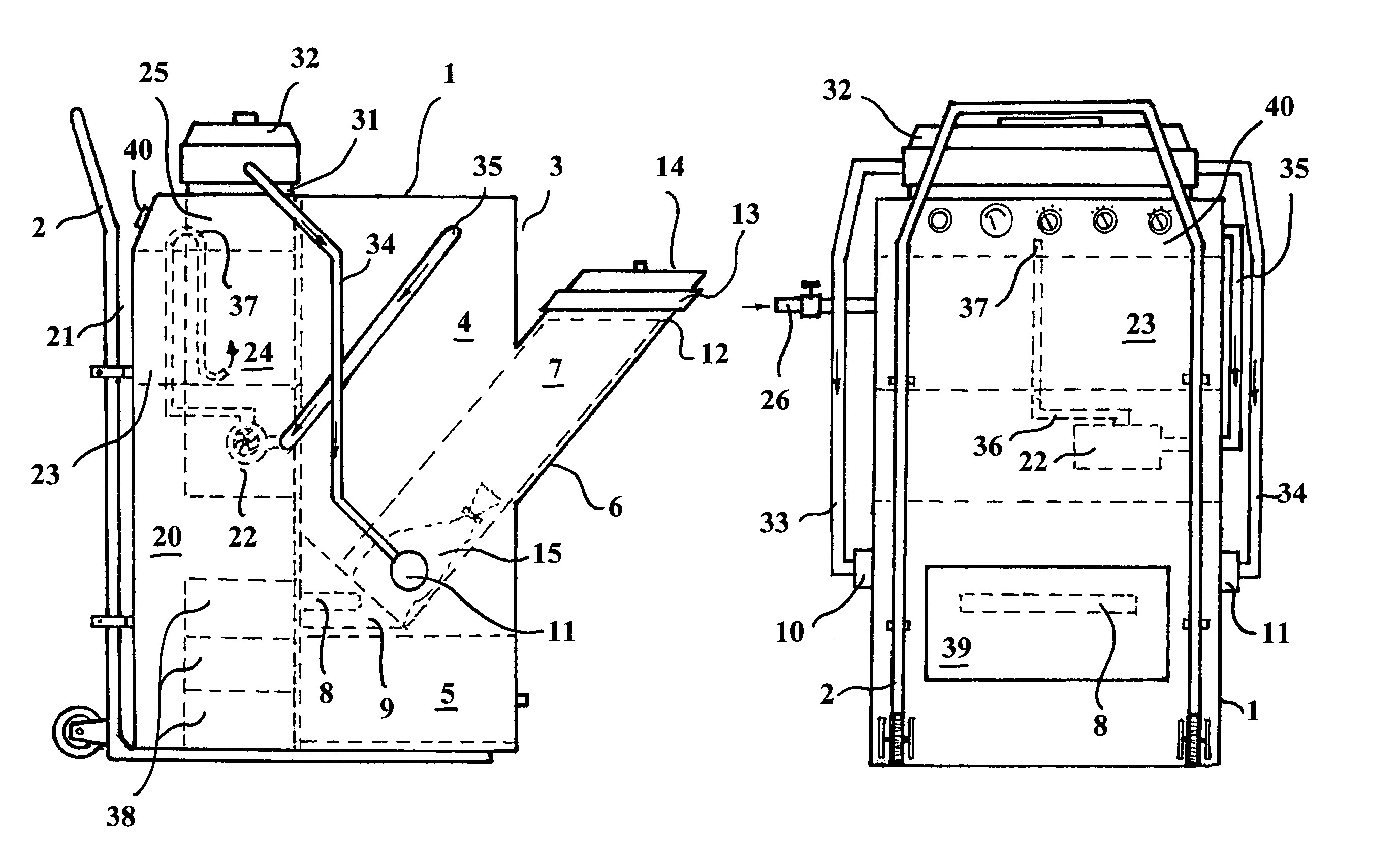
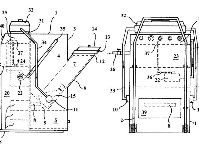
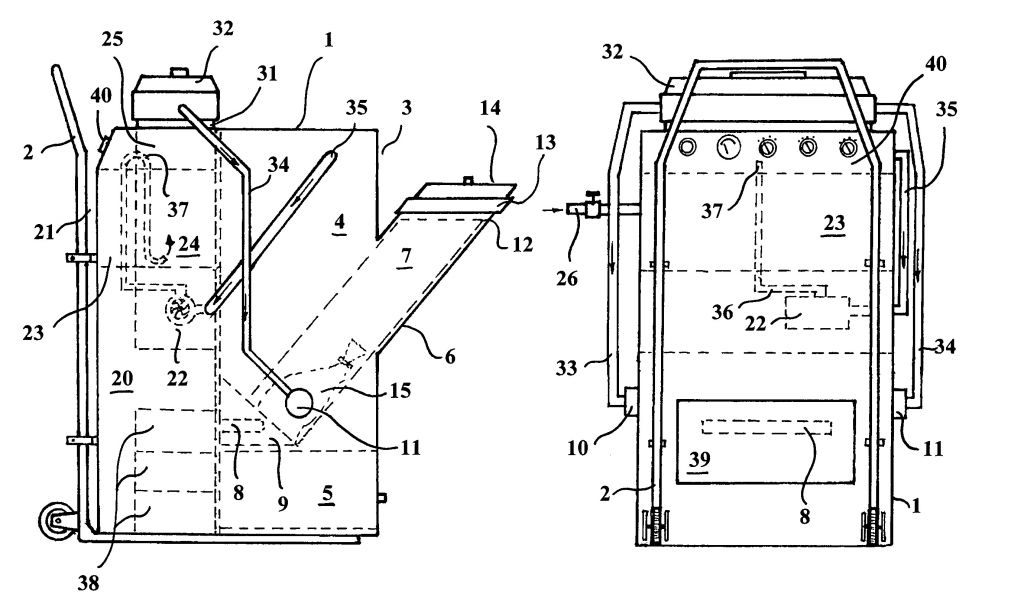
Home Incinerator Plans Patent Us6945180 Miniature Garbage Incinerator and is related to House Plans. if you looking for Home Incinerator Plans Patent Us6945180 Miniature Garbage Incinerator and and you feel this is useful, you must share this image to your friends. we also hope this image of Home Incinerator Plans Patent Us6945180 Miniature Garbage Incinerator and can be useful for you. we will always give new source of image for you
have new images for Home Incinerator Plans Patent Us6945180 Miniature Garbage Incinerator and? please contact us immediately.

Disclaimer
Home Incinerator Plans Patent Us6945180 Miniature Garbage Incinerator and and all other pictures, designs or photos on our website are copyright of their respective owners. we get our pictures from another websites, search engines and other sources to use as an inspiration for you. please contact us if you think we are infringing copyright of your pictures using contact page. we will be very happy to help you.
Tags: home depot sink incinerator, home incinerator waste, home waste incinerator manufacturers in india, homemade backyard incinerator, majestic home incinerator
https://www.plougonver.com/home-incinerator-plans/home-incinerator-plans-patent-us6945180-miniature-garbage-incinerator-and/
Download by size:Handphone Tablet Desktop (Original Size)
Back To Home Incinerator Plans



















